Home Builders Parts

For those of you who prefer to build your own locomotives but lack machining facilities, we offer the following range of chassis and parts as used on our own engines. For extra information and dimension don't hestitate to contact the factory directly. Click over the picture for a closer look.
We also provide Gift Vouchers which can be used on all Roundhouse products.

040SECO - Sammie Complete working 0-4-0 chassis with twin 9/16" slide valve cylinders and slip-eccentric valve gear, as used on 'Sammie'.

No Image Available

040SEBCB - Sammie as above but with internally fired boiler and all steam fittings. Ready to run. bcbs
040SECO - Bertie Complete working 0-4-0 chassis with twin 9/16" slide valve cylinders and slip-eccentric valve gear, as used on 'Bertie'.

No Image Available

040SEBCB - Bertie as above but with internally fired boiler and all steam fittings. Ready to run. bcbb
040WC 0-4-0 Walschaerts chassis only.

No Image Available

040WCB - Billy 0-4-0 Walschaerts chassis and boiler - Billy. Billy chassis and boiler dimensions
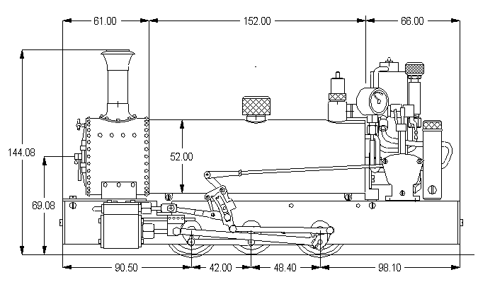
040WCB - George/Katie 0-4-0 Walschaerts chassis and boiler - George/Katie. George/Katie chassis and boiler dimensions
060WC 0-6-0 Walschaerts chassis only.

No Image Available

060WCB 0-6-0 Walschaerts chassis and boiler. Lady Anne chassis and boiler dimensions
AB4 Axle bush. Brass 1/4" bore, press fit into 8mm (5/16" dia) hole. (pack of 4). ab4
ACA Axle 1/4" dia stainless steel with squared ends complete with 2 plain outside cranks 5/16" throw (self quartering). aca
ACA#24 As above but with counterweighted outside cranks. aca24
BDTF Dummy tank filler in turned brass, fits 11mm (7/16" dia) hole. bdtf
BT1 2" dia. boiler. Internal gas firing, supplied complete with safety valve, pressure gauge, steam regulator, gas burner, gas tank and gas regulator. We offer two different standard boilers as shown in the diagram below. Please state type 1 or 2 when ordering. bt1
C Cylinder assembly. 9/16" bore x 5/8" stroke. Slide valve type. Sold in pairs. Standard RH Cylinders
CCBR Centre buffers Roundhouse fitting (pair). ccbr
CCBG Centre buffer M3 stud fitting with nut (pair). ccbg
CPS6 Crank pin 6BA, 1/8" dia. shoulder (pack of 6). cps6
CSB Cast smokebox for 2" gas boiler. With or without fittings. Fittings include; brass chimney cap, handrail knobs x2, handrail wire, front footplate, M3x6 brass cheesehead screws x2 and smokebox dart with nut. Cast Smoke Box
DDK Diesel detail kit, includes a number of brass etched diesel parts and machined horns/exhausts perfect for the home diesel builder. ddk
FS Frame spacer 1/4" square brass with 2 x M3 brass screws. Cross drilled M3. fs
GBI Gas burner internal (FG type, complete with gas jet (threaded 1BA) and 1/4" x 40 ME union nut and nipple. gbi
GCK Gauge conversion kit. Please state the loco when ordering. Price is dependent on the loco type.

No Image Available

GFA Gas filling adaptor with 7/16 NS thread for EN417 canisters. gfa
GFV Gas filler valve, threaded M4.5 x 0.5. gfv
GJ Gas jet, threaded 1BA. gj
GTWF Gas tank with fittings. A range of shapes and sizes are available, CLICK HERE for full details. Price dependent on type. gt w/ fittings
HK10 Handrail knob (pack of 10) threaded 8BA, drilled through 1/16" dia, complete with nuts. hk10
LOCOGLYDE Locoglyde electronic speed controller for battery electric locomotives. Instructions here.

No Image Available

LUB Displacement lubricator, cap thread 3/8" x 24 UNF, drain screw 4BA, complete with 1/4" x 40ME male connector. lub
ORW '0'ring/washer set. O-ring and Washer Set
PG Pressure gauge 3/4" dia. 0-80 psi, complete with 3/16" x 40ME union nut and nipple. pg
REGM Steam regulator, needle valve type, female 3/16" x 40ME end inlet, 1/4" x 40ME side outlet, complete with manual lever and fibre washer. regm
REGRC Steam regulator, radio control type,female 3/16" x 40ME end inlet, 1/4" x 40ME side outlet, complete with r/c arm and fibre washer. regrc
REGG Gas regulator, 1/4" x 40ME end inlet and side outlet, complete with union nuts and nipples. regg
RSB32 Arch bar bogie kit including wheels for 32mm gauge. rsb32
RSB45 Arch bar bogie kit including wheels for 45mm gauge. rsb45
SSOL Silver Solder - 350mm lengths No image available
S Syringe - for water filling. 50ml Syringe
SO500 Steam oil (500mll).

No Image Available

SV Safety valve threaded 5/16" x 32ME, 40 psi blow off. sv
TRB Tom Rolt buffers, set of 4. tr
WBTU Water top up bottle only.

No Image Available

WD Wheel 33mm dia. Disc pattern. Steel, bored 1/4" with M4 grub screw, nickel-plated, flanged or flangeless. wd
WDI As above but insulated.

No Image Available

WVG Walschaerts valve-gear set (for two cylinders). Walshaerts Valve Gear
FT Bogie tender as used on Fowler, ready to run, state colour and gauge when ordering. ftender
GT Four wheeled tender as used on George, ready to run, state colour and gauge when ordering. gtender
JT Four wheeled tender as used on Jennie, ready to run, state colour and gauge when ordering. gtender

Roundhouse Engineering Co. Ltd., Doncaster, UK. 2018. Click Here To Return To The Homepage